ヘッドライトいじりますシリーズ
「ヘッドライトをいじります①ヘッドライトの原理」←今ここ
「ヘッドライトをいじります②測定」
「ヘッドライトをいじります③対策(失敗)」
参考「1万5000円で買えるオシロスコープ」
「ヘッドライトをいじります①ヘッドライトの原理」←今ここ
「ヘッドライトをいじります②測定」
「ヘッドライトをいじります③対策(失敗)」
参考「1万5000円で買えるオシロスコープ」
参考:「GPXジェントルマンレーサー200のサービスマニュアル」
非常に好みの問題になると思うのですが、ヘッドライトの光り方が気に入りません。光り方を図で表すとこんな感にに光るんですよ。時にアイドリング中にメチャメチャ気になる!!
この光が、ブレブレする現象をどーにかして、こんな感じに光らせたいのです!!
ヘッドライトの光り方なんですが、イグニッションキーをONにすると周りのリング部分が光ります。
んでもって、エンジンを始動するとハロゲンライトが点灯します。
リング部分はブレブレせず、ハロゲンライトはブレブレします。なーーんでなんだろ思いまして。勉強してみました。今回参考にした書籍は「日本整備士振興協会連合会著:三級二輪自動車、二級二輪自動車」「全国自動車大学校・整備専門学校協会著:電装品構造」の3冊を参考にしました!!参考文献の書き方が違うって?ブログだから伝わればいいっしょ!
この3冊買っちゃいましたよ。ほかにも整備士資格を取るための本を10冊ほど!!整備士の資格取らないんですけどね(笑)将来的にはターボとかをくっ付けた変態仕様のバイクにしたいので、投資です!!
GPXジェントルマンレーサー200のサービスマニュアルについてはこちら
という事で基礎知識から。
バイクの発電
バイクに限らず、エンジンで動く乗り物は図5で示したような構造になっているようです。図5 発電機とバッテリー
電飾系統の部品は基本的にバッテリーから給電されるそうなんですが、バッテリーだけだとすぐに電池切れになってしまいます。そこで、エンジンで電気を発電してバッテリーに充電することで、電池切れにならないようにしているようにしています。ここの発電する方法ってのがモーターをエンジンの力で回して発電する方法です。あの、モーターに豆電球をくっ付けて、モーター回すと光るあれです。バイクの場合はこのモータに3層交流モータを用いています。
3層交流モータとは簡単に言うと、プラレールとかに使われているモーターの中身が3倍になっているモータってことです。下の図6を見てください。
図6 3相交流モータの巻線部分
この3倍になっているコイルが磁界内をぐるぐる回ることで電気を発電します。ちなみにここの図では磁石を用いていますが、実際のバイクは電磁石を用いています。電磁誘導の法則のやつです。
詳しくはこちら「コイルガンの作り方~磁気原理編~」に似たようなことを詳しく書いています。
このコイルの巻線をA、B、Cとします。この時発電される電圧は、図7のように位相が丁度120 °ずれた、正弦波が同時に発電されます。手書きなんで、少しずれてますが許してください(笑)
図7 三相交流モータの巻線ごとの発電電圧
この時、電圧の合計は任意の時間のA、B、C巻き線で発生する電圧をA(t)、B(t)、C(t)と表すと
・A(t)+B(t)+C(t)=0 (1)
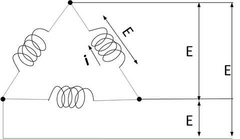
となります。これは巻き線A、B、Cがすべて同時に発電しているため、発電された電圧が合算すると0になってしまうことを示しています。そのため充電することが出来ません。そこで考えられたのが、スター結線とデルタ結線という線の繋げ方です。図8に示します。E:電圧、i:電流
スター結線
デルタ結線
図8 スター結線とデルタ結線の結線方法
それぞれの巻線A、B、Cの束のつなぎ方をこのようなつなぎ方にすることで、図に示したような部分で電圧、電流を得ることが出来ます。図8 スター結線とデルタ結線の結線方法
この時図で示した部分の電位差、電流は表1で示した関係を持ちます。
表1 スター結線とデルタ結線の出力電圧と電流

実際に使用されている結線方法はスター結線になります。なぜかというと。
1.結線が簡単
2.電流はデルタ結線に劣るが、低速特性に優れる
3.中性点が利用できる
といった、利点があるからです。
ですが、結線方法によって合算された電圧が0にならないようになっても、起電力方向が違うため全波整流した波形でバッテリーを充電する必要があります。全波整流って何ぞや?って人は後日書くんでそれを読んでみてください!!その整流回路を図9に示します。
図9 整流回路
この回路を用いることで、ずっと同じ方向にプラスを持ってくることができ、バッテリーを充電することが出来ます。試しに全6パターンの電流の流れる方向を指でたどってみてください、全て同じ方向に整流されているのがわかると思います。
充電方法がこれで分かりましたが、モータはエンジンの回転に追従するため一定電流を発電することが出来ません。この問題を解決するためにボルテージレギュレータというものを使用します。これは図6で言うところの磁石の強さを調整する機械です。
図6 3相交流モータの巻線部分
磁石の強さを変えるといっても難しいことではありません。バイクではこの磁石が電磁石で構成されているらしく、簡単に磁界の強さを変更することが出来ます。これを調整することで、発電量を調整します。電磁石の事についてはこちらに似たようなことを書いています。
目次へ
ハロゲンライトについて
GPXジェントルマンレーサー200のヘッドライトには、ハロゲンライトが用いられています。このライトはバルブ内にハロゲン化合物と不活性ガスを共に封入することで作製します。これだけです。光り方は豆電球と何ら違いはありません(笑)ただ、バルブ内であるサイクルが繰り返されています。図10にハロゲンライトのサイクルを示した図をしまします。図10 ハロゲンライトの内部サイクル
1.発光→フィラメントのタングステンが蒸発
2.低温である菅付近で冷えてハロゲン(ヨウ素)と結合してハロゲン化化合物になる
3.ハロゲン化化合物がフィラメント付近の高温で分離
4.タングステンがフィラメントにくっつく
これをひたすらに繰り返します。このライトのメリットは
・フィラメントの温度を極めて高くできる→明るい
・「蒸発→ハロゲン化化合物→フィラメントに戻る」のサイクルにより寿命間近でも管が黒くならず、最後まで明るい
ってな点が挙げられます。ちなみに直流駆動らしいです。
目次へ
対策案
さー、これで基本的なところは分かりました。次は自分のバイクはどうか見てみます。どんな感じなんでしょうか!!...なんとライトにつながっている線が3本あるではないですか!!
バッテリーが繋がっているわけではないのか…?
GPXジェントルマンレーサー200のライトについてまとめます。
・エンジンが着くと光る
・線が3本
・ハロゲンライトは基本直流
ってことは
こんな感じで、つながっているのではないかと予想します!!
?部分は整流回路が入っていると思います。あってるかはまだ分かりませんが(笑)
つまり、ヘッドライトがチカチカするのは、ハロゲンライトに印加される電圧の平滑化が不十分だから!
それが原因ならあとは簡単です。脈動を取り除くための平滑回路を組み込んでやればいいだけです!
こんな感じでコンデンサをぶち込む!!
こうすれば、チカチカが無くなるはず!!!
まぁ、これも全て予想があっていた時のみ出来る方法ですがね(笑)
今回はここまでにしたいと思います。
次回は「ヘッドライトをいじります②測定 GPXジェントルマンレーサー200」
目次へ
ヘッドライトいじりますシリーズ
「ヘッドライトをいじります①ヘッドライトの原理」←今ここ
「ヘッドライトをいじります②測定」
「ヘッドライトをいじります③対策(失敗)」
参考「1万5000円で買えるオシロスコープ」
「ヘッドライトをいじります①ヘッドライトの原理」←今ここ
「ヘッドライトをいじります②測定」
「ヘッドライトをいじります③対策(失敗)」
参考「1万5000円で買えるオシロスコープ」
スポンサードリンク














コメント